Geschiedenis van de Argand olielamp
Begin modern kunstlicht met nieuw type olielamp
In 1783 deed de Zwitser Aimé Argand de meest baanbrekende uitvinding in de moderne geschiedenis van de lamp, namelijk de moderne lamp zelf. Deze Argandlamp, een olielamp, was de eerste significante nieuwe vorm van verlichting in duizenden jaren. De basis daarvoor was de Argandbrander, een systeem dat de lont een stuk beter deed branden. In aanvulling op de brander ontstond een compleet nieuw soort verlichtingsarmatuur, dat verder was voorzien van een trekglas, een knopje voor het verstellen van de lichtsterkte en een lampenkap. Daarmee was dit de eerste echte lamp met breder uitstralend licht dan dat van een vlammetje. Argandlampen worden ook wel Argandse lamp genoemd en in vroegere tijden in Nederland Engelsche lamp.

Jacques-Louis David - Portret van Dokter Alphonse Leroy, 1783. De lamp links is waarschijnlijk een Quinquetlamp, zoals in 1783 op de Franse markt gebracht. Deze dokter was er dus vroeg bij.
Korte geschiedenis olielampen
De geschiedenis van de olielamp begint al ergens diep in de prehistorie, als mensen ontdekken dat je een lichtje kunt maken door een lont van plantenvezel te leggen in een holte of een holle steen die was gevuld vet of olie. Daarmee is het olielampje de oudste vorm van door mensen gemaakt licht na het open vuur en de toorts. Het was een grootse ontdekking, omdat het olielampje de eerste beheersbare vorm van kunstlicht was, wat je van vuur en vuurdragers niet kunt zeggen.
In de oudheid ontstaat vervolgens het tuitlampje, wat het eerste lampje was met een afgesloten brandstofreservoir. Daarna komen er steeds meer verschillende typen lampjes. Het blijven echter beperkte lampjes die uitsluitend klein vlamlicht geven.
Lees hier meer over olielampjes in het verleden.

Judith Leijster - Een spelletje tric trac, 1630 (cropped). Een spelletje spelen bij het beperkte licht van een olielampje in de Gouden Eeuw. Om voldoende licht te geven moet het lampje op het speelbord staan.
De Verlichting: wetenschappelijke benadering kunstlicht
Is het toeval dat juist tijdens de periode die bekend staat als de Verlichting wel degelijk ook de lamp voor het eerst in eeuwen werd gemoderniseerd? Ja en nee. Het had uiteraard niks te maken met de al dan niet overdrachtelijke betekenis van het woord 'verlichting'. Het had wel te maken met de achterliggende gedachte van deze stroming die een rationalisering van de materie en een wetenschappelijke aanpak van het probleem voorstond.
In de tweede helft van de 18de eeuw gingen de gebrekkige mogelijkheden tot verlichting wringen. In Engeland wordt vanaf ongeveer 1750 een begin met de industriële revolutie gemaakt en Frankrijk kreeg in 1789 met een politieke revolutie te maken die de maatschappelijke organisatie totaal zou veranderen. Het gevolg van deze ontwikkelingen was dat zowel de productie van goederen op grotere schaal als een andere rol van de overheid hun invloed deden gelden op tal van gebieden. Er kwam een een samenleving uit voort die ook letterlijk niet langer in het donker wilde zitten. De behoefte aan lampen die breeduit licht gaven nam daardoor toe.
Om dergelijk lampen te kunnen maken gingen wetenschappers en uitvinders op zoek naar incandescent licht: dat wil zeggen licht dat zo breed mogelijk straalt en tegelijkertijd zo wit mogelijk is. Hoe groter en witter het licht, hoe incandescenter de lamp. Binnen het nieuwe rationele elan ging men die zoektocht te lijf met wetenschap en onderzoek. Daarbij werden alle bestaande lichtbronnen, soorten pitten en brandstoffen verbeterd, maar ging men ook op zoek naar compleet nieuwe vormen van kunstlicht.
De aanvankelijk meest succesvolle vinding op het gebied van incandescent licht was de brander, die de traditionele losse pit verving in olielampen.

Premiere van het ballet Pirro door Giovanni Paisiello in het Publiek Theater in Warschau in de aanwezigheid van koning Stanislaus Augustus, 1790 (maker onbekend). Theaters waren belangrijke aanjagers van de zoektocht naar beter licht. Op dit schilderij is goed te zien waarom. Let ook op de muzikanten voor het podium, die allemaal hun eigen lichtje hebben.
Wat is een brander
Het woord brander kan op meerdere zaken slaan, maar in het geval van een olielamp verwijst het naar een systeem waarbij de pit in een nauw buisje wordt gesloten en op een schijf bevestigd. Aan de onderkant van het buisje zitten gaatjes om de brandstof naar binnen te laten. Aldus wordt de brander op het oliereservoir geplaatst, waardoor de brandstoftoevoer beter en gelijkmatiger gereguleerd wordt. Dit heeft een aantal voordelen in vergelijking met een lont alleen:
- Het verbetert de zogeheten capillaire werking van de lont oftewel het vermogen van de vezels om olie op te nemen. Hoe beter de capillaire werking, hoe groter de vlam.
- Het gaf een gelijkmatiger toevoer van brandstof. Traditionele olielampjes gingen slechter branden als het brandstofniveau in het reservoir daalde omdat de pit de olie dan steeds slechter opnam. Mede omdat de meeste typen olie die beschikbaar waren nogal dik waren en daarmee als vanzelf matig opneembaar door de lont. Door de gelijkmatige toevoer van olie door de brander verdween dit probleem.
- Een lamp met brander had beduidend minder last van lekken en van walmende pitten dan andere vormen van verlichting en dat terwijl men de lont veel minder vaak hoefde bij te knippen.

Johann Jakob Ridinger - Portret van Johann Elias Ridinger, zoals hij bij het lamplicht tekent, 1767. De lamp links is een olielamp met een eenvoudige brander. Gezien het jaartal van de afbeelding nog eentje met een ronde pit.
De eerste branders
De eerste branders werden in de loop van de 18de eeuw bedacht, al is het niet duidelijk door wie. In ieder geval werden aanvankelijk gewone ronde pitten gebruikt. In 1773 werd er echter een brander met een platte pit geïntroduceerd, doorgaans een plat stukje katoen. Bij een dergelijke lont blijft de vlam smaller, zodat de lucht, en daarmee de zuurstof, beter tot het binnenste ervan kan doordringen. De lamp brandt dan beter en bovendien verkoolt de pit een stuk minder snel, zodat er minder onderhoud nodig is. Deze platte pit zou echter tien jaar later alweer overklast worden.
De (herontdekking) van zuurstof
Datgene dat een vlam nog beter kan doen branden dan een goede olieopname door de pit is zuurstof. Om dat idee te kunnen toepassen op het ontwerp van een brander moet je echter wel eerst weten dat zuurstof bestaat, dat het van effect is op een vlam en dat het door lucht wordt aangevoerd.
Degenen die de wereld deze kennis met name hebben verschaft waren de Britse theoloog en wetenschapper Joseph Priestley (1733-1804) en de beroemde Franse scheikundige Antoine Laurent Lavoisier (1743-1794). Zij leverden in de jaren ’70 van de 18de eeuw het belangrijkste werk bij de (her)ontdekking van zuurstof als element en de manier waarop het een vlam kan voeden.
Het was echter een jonge Zwitserse wetenschapper, die mogelijk contact heeft gehad met Lavoiser en misschien zelfs onder hem heeft gestudeerd, die een praktische toepassing vond voor de nieuwe kennis over zuurstof en verbranding.


Links: Ellen Sharples - Portret van Jospeh Priestley, 1793. Rechts: Jacques-Louis David - Portret van Meneer de Lavoiser en zijn vrouw, scheikundige Marie-Anne Pierette Paulze, 1788.
Aimé of Ami Argand
François Pierre Ami Argand (1755-1803), roepnaam Aimé of Ami (bronnen vermelden beide), was een van geboorte Zwitserse schei-, natuur-, en werktuigbouwkunde die zich specialiseerde in verbranding. Hij zou een groot gedeelte van zijn leven in Frankrijk wonen en/of werken en deel uitmaken van de Franse wetenschappelijke wereld.
Dat was van belang, want rond 1780 werd er, in navolging van Lavoisers ontdekkingen, in deze wereld intensief over verbranding en verlichting gediscussieerd. Als gevolg daarvan kwamen dan ook bijna alle 18de-eeuwse uitvindingen op het gebied van verlichting en lampen uit Franse handen. In 1785 leverde Argand een bijdrage aan genoemde discussie met het geschrift Découverte des Lampes àcourant d'air et à cylindre, waarin hij zijn theoretische opvattingen over het 'physische principe' dat aan zijn lamp ten grondslag lag nader toelichtte.
In 1783 (een waar topjaar voor Argand) werkte hij bovendien als verbrandingsexpert samen met de gebroeders Montgolfier aan de eerste werkende luchtballon. Het werd een samenwerking die nog vele jaren zou duren. Ondertussen had hij samen met zijn broer Jean diverse wijn- en cognacstokerijen die werkten op een nieuw, uiteraard door hemzelf ontwikkeld, destillatieproces.

E. Thomas - Aimé Argand.
Uitvinding Argandbrander
In 1780 was Argand al begonnen ideeën voor een nieuwe lamp uit te werken. Deze draaiden in eerste instantie om wat bekend zou worden als de Argandbrander. Deze bestond uit een plat stukje geweven katoen, de lampenkous, dat hij tussen twee koperen buisjes in een cilinder plaatste. Dit wordt ook wel een holle pit genoemd. In de cilinder blijft namelijk ruimte over waar lucht doorheen kan stromen.
Het voordeel van een holle pit is dat de zuurstof ook in het binnenste van de vlam terechtkomt in plaats van deze alleen aan de buitenkant te raken. Dat komt zowel de capillaire werking als de sterkte van de vlam ten goede. Dit systeem werkt zo goed dat de lichtsterkte er flink door toeneemt in vergelijking met andere olielampen en kaarsen.. Tevens brandt de lamp schoon en walmt veel minder.
Een nadeel van de Argandbrander was wel dat deze beduidend meer brandstof gebruikte dan branders met een platte pit. Daarom werden bij alle typen olielampen (inclusief de petroleumlamp) ook nog lang branders met een platte pit gebruikt, bijvoorbeeld wanneer men ergens met een zwakkere vorm van verlichting toe kon.
Uitvinding Argandlamp
Argand liet het niet bij het aanpassen van de brander alleen. In 1873 presenteerde hij een complete nieuwe lamp, zij het nog zonder patent aan te vragen.
In deze lamp was het oliereservoir boven de brander gemonteerd in plaats van direct eronder. Daardoor ontstond er een zogeheten zwaartekrachtsysteem waarbij de olie van boven naar beneden, dus door zwaartekracht, naar de lont werd verplaatst. Daardoor was de capillaire werking niet meer volledig afhankelijk van de opzuigende werking van het katoen. Een betere brandstoftoevoer dus, maar het had ook een paar nadelen: de lamp ging er schaduwen door werpen en was topzwaar.
Verder bedacht Argand nog een mechanisme, waarbij met behulp van een tandwiel de pit omhoog en omlaag kon worden gedraaid, waardoor het mogelijk werd de sterkte van de vlam aan te passen. Dat was nog nooit eerder vertoond in de geschiedenis, een lamp waarvan men de lichtsterkte kon bijstellen. De vreugde die veel mensen daarover voelden dient dan ook niet te worden onderschat.
In deze basisvorm werd de lamp al een succes, zij het aanvankelijk alleen bij de rijkere burger. Helemaal af bleek hij in dit model overigens al vrij snel niet.

Torsten Scherning - Weergave van een Argandlamp, 2005.

Man past de sterkte van zijn Argandlamp aan. Uit tijdschrift 'Die Gartenlaube', 1899.
Het trekglas
Ook nog in 1783 bedacht de Franse apotheker Antoine Quinquet (1745-1803) een trekglas dat men over de vlam kon plaatsten. Dat gaf een gelijkmatige, rustige vlam. Het voordeel van het trekglas was dat het de lucht vasthield en bij een vernauwing samenperste, waardoor de zuurstof nog beter tot de vlam kon doordringen. De instellingen van een trekglas komen wel vrij precies en kunnen per stelplaats verschillen, zodat de gebruiker er wel wat handigheid mee moest hebben. Ook zijn trekglazen erg kwetsbaar voor ongelukjes.
Quinquet was in 1779 bevriend geraakt met Argand en had in 1783 ook meegewerkt aan de heteluchtballon. De vriendschap bleek echter niet al te bestendig want nadat Quinquet een prototype van de lamp had gezien ging hij er zelf mee aan de slag en bedacht er dus het trekglas bij. Dat zou er later voor zorgen dat hij rechtszaken over inbreuk op het patent van Argand zou winnen, aangezien de Zwitser zijn lamp openbaar had gemaakt zonder trekglas.
Zelf had Argand nog wel een schoorsteentje van blik bovenop de cilinder geplaatst, maar dat verving hij in september 1783 door een glazen versie, het zogeheten lampenglas. Dat heeft dus wel een licht andere, rechtere vorm dan het trekglas van Quinquet, dat een vernauwing heeft.
Omdat hij in Frankrijk de slag feitelijk al had verloren week Argand uit naar Engeland, waar hij in 1784 wel een patent kreeg voor de Argandlamp in zijn geheel, dus met lampenglas.


Louis Figuier - Links: Het trekglas van Quinquet, rechts: het lampenglas van Argand, tussen 1867-1869. Uit: Louis Figuier, Les Merveilles de la science, 1867-1869.
De lampenkap
Een laatste toevoeging die de nieuwe olielamp pas echt compleet maakte was de lampenkap. Voorlopers daarvan verschenen voor het eerst in de 17de eeuw. Dat waren schermpjes of kapjes van papier, hoorn of (melk)glas die bij kaarsen of olielampjes werden gebruikt. Ze waren vooral bedoeld om de felheid van het licht wat te dimmen, met name als men wilde voorkomen in het vlammetje te kijken.
Door ontwikkelingen bij straatlantaarns ontdekte men halverwege de 18de eeuw dat kappen die boven een lichtbron worden geplaatst de lichtval stuurden. Het licht straalde dan niet meer willekeurige in de rondte, maar werd recht naar beneden geleid. Vooral kappen die min of meer de vorm hadden van een omgekeerde vaas hadden dat effect.
Als gevolg van deze ontdekking ontstond in eerste instantie het studeer- of leeslampje en werd dat al snel populair. Dit waren lampjes die door een kapje het licht direct op een bepaalde bezigheid (lezen, handwerken, knutselen, etc.) lieten schijnen, wat voor de beoefenaren een enorme vooruitgang in verlichting was. Binnen dit kader kregen aanvankelijk zowel olielampjes als kaarsen een kap. Erg bestendig zou dat echter nooit worden, want met de vaak papieren of stoffen kappen was brandgevaar nogal overdadig aanwezig.
Gelukkig kwam al snel na de ontdekking van de lampenkap de Argandlamp op de markt en daarbij kon men de lampenkappen dankzij het trekglas (dat doorgaans boven de kap uitsteekt) al veel veiliger toepassen. Bovendien gaf deze veel sterkere lamp een prachtige lichtbundel als je er een kapje op zette. Het was een match made in heaven en de Argandlamp was nu echt af. Al zijn er ook altijd Argandlampen gebleven zonder kap en kwamen er ook lampen met een glazen bol waardoor het licht juist wel alle kanten op straalde, zij het in verzachte en sfeervolle vorm.

Charles Wilson Peale - Portret van James Peale, 1822. Dit portret werd vooral bekend vanwege de zeldzaam duidelijke afbeelding van een Argand leeslamp met kapje.
Lichtopbrengst Argandlampen
De Argandlamp was zoals gezegd feitelijk de eerste moderne lamp. Maar hoeveel beter brandde hij nu feitelijk dan andere lichtbronnen? Daar doen verschillende verhalen over de ronde. Vaak wordt gezegd dat hij de sterkte had van zo'n 5 tot 10 kaarsen, maar sommige bronnen spreken van een lichtsterkte van wel 20 kaarsen.
De verwarring hierover heeft te maken met de manier waarop in het begin van de 19de eeuw de lichtintensiteit van beschikbare lichtbronnen werd gemeten. Dat werd inderdaad gedaan door deze te vergelijken met kaarsen. Punt is echter dat de lichtopbrengst van een kaars afhangt van zaken als de kwaliteit van de kaars, de standplaats van de kaars (hoeveel tocht was er) en het moment waarop de kaars gesnoten wordt.
Sterker nog, de lichtsterkte van een kaars is sterk afhankelijk van de vraag of deze net nog is gesnoten of langer geleden. Al vrij kort na het snuiten verliezen ze veel lichtsterkte en dat blijft rap bergaf gaan. Uit onderzoek bleek dat 4 pas gesnoten kaarsen van 1/6 kilo evenveel licht gaven als 28 niet gesnoten kaarsen.
Dat was ook de hoeveelheid licht die een Argandlamp gaf. Uiteindelijk kwam men erop uit dat er gemiddeld wel zo’n 12 talgkaarsen van '6 in het pond' nodig waren om de Argandlamp een avondje te evenaren.
Daarmee was de Argandlamp in hoge mate superieur aan zowel kaarsen als andere lampen.

Johann Erdmann Hummel - Schaakpartij, 1818/1819. Hoewel er een moderne olielamp aanwezig is (waarschijnlijk een Carcellamp), gebruiken de heren toch kaarsen om hun speelbord mee te verlichten en misschien ook wel voor de gezelligheid. Links staat er bovendien een grote spiegel, die door zijn weerkaatsing het licht in de ruimte versterkt.
Soorten olielampen
Na de introductie van de Argandbrander werden tal van nieuwe typen olielampen bedacht, meestal door Franse uitvinders. Hun lampen konden onderling behoorlijk verschillen in uitvoering, maar bezaten bijna allemaal de drie basiskenmerken van een Argandse lamp: een Argandbrander, een trekglas en een lampenkap of glazen bol. Daarmee vallen ze in feite toch onder de Argandlampen, ook al hebben ze meestal een andere naam. De verschillen betreffen vooral de plaatsing van de oliereservoirs en de manier waarop de olie naar de brander wordt geleid.
Veel lampen die op de markt kwamen hebben maar kort bestaan, misschien zelfs maar enkele tientallen jaren. Het duurde tenslotte maar een jaar of 80 voordat de Argandlamp zijn primaat alweer verloor aan zijn nog beter werkende broertje de petroleumlamp, die vanaf ongeveer 1860 beschikbaar kwam.
Al verdween de olielamp daardoor beslist niet uit het zicht. Petroleum was niet overal beschikbaar en bovendien voor veel mensen te duur. Op het platteland en onder de grote groep armere stadsbewoners bleef de olielamp de belangrijkste bron van verlichting. In veel andere huizen zullen petroleum- en olielampen naast elkaar hebben gefunctioneerd.

Georg Friedrich Kersting - De elegante lezer, 1812. Argand studeerlamp in gebruik.
Staande olielampen met enkel reservoir
Dit waren de eenvoudige, kleinere typen lampen die al ter sprake zijn gekomen. Vermoedelijk zijn dit de op afstand de meest gebruikte Argandlampen gebleven. Er waren twee hoofdsoorten:
- Studeerlamp. Dit was het eerder besproken, kleinere model lamp met kapje. Concentratie van naar beneden gericht licht, zodat je er goed bij kon lezen of schrijven was het hele doel achter deze lamp. Al werd hij ook al snel bij tal van andere activiteiten gebruikt. Het oliereservoir bevond zich vaak aan de zijkant van de brander omdat de olie op die manier optimaal kon toevloeien. Nadeel daarvan was dat de lamp dan een extra schaduw wierp, namelijk dat van het reservoir.
- Astrale lampen met glazen bol. Dit was een tafellamp, met een melkglazen bol om het grootste deel van de brander, het reservoir en de vlam. Deze lampen hadden geen trekglas, maar een opening bovenin de bol. Het voordeel van dit ontwerp was dat de lampen geen extra schaduw wierpen. Ze gaven gedempt, sfeervol licht, maar straalden het wel naar alle kanten uit.

Twee astrale Argandlampen. Geretoucheerde bewerking van een foto uit 1860. Ontwerper van deze lampen is Henry N. Hooper.
Hangende olielampen
Al sinds de middeleeuwen bestonden er eenvoudige olielampjes die je op kon hangen en aan de andere kant van het financiële spectrum had je de kroonluchter (meestal met kaarsen), maar verder was er nooit veel terecht gekomen van hangende lampen. In de 18de eeuw ontstond hier echter dringend vraag naar, zeker ook binnen bedrijven, winkels, theaters, restaurants en andere publieke gebouwen, die er in de loop van deze en zeker de 19de eeuw steeds meer kwamen.
Aldus werden er nieuwe systemen bedacht om ook het ophangen van Argandlampen mogelijk te maken. Het licht kon dan breed naar beneden stralen, waardoor er een groter oppervlak werd verlicht dan bij een staande lamp.
De crux was het ontwerpen van lampen waarbij de toevoer van de brandstof naar de brander goed verliep, zodat deze precies de juiste hoeveelheid kreeg. Tenslotte moesten reservoirs bij hangende lampen wel onder de brander zitten. Probleem was echter dat zowel teveel als te weinig brandstof leidde tot problemen. Men probeerde allerlei mechanismen zoals kraantjes, speciale buissystemen of automatische stops. Niet alles daarvan werkte even geweldig.
Daarnaast was er het probleem van het bijvullen van het reservoir of de reservoirs. Daarvoor moesten hangconstructies worden bedacht die men gemakkelijk omlaag kon trekken. Tevens werd er veel aandacht besteed aan de mogelijkheid om bij aan het plafond hangende lampen toch de pit in de brander te kunnen verschuiven. Ook op deze punten waren niet alle lampen die op de markt kwamen een succes.
Lamp met meerdere lichtpunten
Veel hanglampen waren gewoon een combinatie van meer dan één olielamp, als een klein formaat kroonluchter zonder versieringen. Dat kon op tal van manieren vorm krijgen. Bij deze lampen was het opdraaien van de pitten echter geen voor de hand liggende optie en het bijvullen van de olie een regelmatig terugkerend drama. Het was wel relatief gezien de goedkoopste oplossing.

Johannes Jelgerhuis - De winkel van boekhandelaar Pieter Meijer Warnars, 1820. (cropped). Dit is een van de zeer weinige overgeleverde afbeeldingen van een winkel of kantoor waar zichtbaar een olielamp hangt. De boekhandel lag aan de Vijgendam in Amsterdam.
Kranslampen
Een redelijk goed geslaagde hangende olielamp was de kranslamp. Dit was een hanglamp met een kransvormig oliereservoir dat rondom de lamp liep. Het geheel werd afgedekt door een kap en via een vuldop kon men het reservoir bijvullen. De sokkel was hol en er kon een lekbakje onder worden gehangen om langs de lamp druipende olie op te vangen. Om de pit in deze lamp te kunnen opdraaien was een speciaal mechanisme in een pijpje aan de lamp bevestigd dat met een radertje kon worden bediend.
Een afgeleide van de kranslamp was de sinumbra die speciaal was ontworpen om zo weinig mogelijk schaduw te werpen. De naam betekent ook zonder (sin) schaduw (umbra) in het Latijn.
In het algemeen waren deze lampen verre van goedkoop en het gebruik ervan bleef dan ook grotendeels beperkt tot welgestelde huizen en de openbare gelegenheden waarvoor ze feitelijk waren gemaakt.
Kroonluchters
Nog duurder dan kranslampen was de kroonluchter bestaande uit Argandlampen. Dergelijke luchters bestonden wel, maar kwamen niet veel voor. Ze waren zo luxe en het bijvullen was zo'n toestand dat de concurrentie, bestaande uit gasluchters (vanaf ongeveer 1815) en traditionele kaarsenluchters, de keuzestrijd meestal won.

A.A. Brobov - Bibliotheek van het Anichkovpaleis, 1869. De absolute top qua verlichting van een ruimte in deze tijd: meerdere kunstige, speciaal ontworpen kroonluchters met olielampen plus bijpassende staande modellen.
Olielampen met een dubbel reservoir
Rond 1800 kwamen er olielampen met twee brandstofreservoirs: een groter basisreservoir onderin de lamp en een kleiner exemplaar bovenin waar de pit zat. Er waren verschillende systemen om de olie van het ene naar het andere reservoir te transporteren. De zin daarvan was dat de pit dan langere tijd de juiste hoeveelheid brandstof kreeg zonder dat men de lamp steeds hoefde bij te vullen. Het bijvullen van een olielamp was namelijk een vervelend en meestal ook vies karweitje, zeker als je er niet zo handig in was. Met de onderstaande lampen kon men een stuk langer toe zonder te hoeven bijvullen.
Pomplamp
Bij pomplampen kon je de olie handmatig van het ene naar het andere reservoir pompen. De pomp werkte met een veermechanisme. Dit vroeg nog steeds tijd, maar voorkwam vettige handen en druppels op je meubels. Pomplampen waren vaak gemaakt van tin en van Franse origine.


Luis Figuier - Pomplamp van binnen en van buiten. Uit: Louis Figuier, Les Merveilles de la science, 1867-1869.
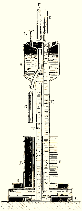
Carcellamp
In 1800 kreeg de Parijse horlogemaker Bernard Guillaume Carcel (1750-1880) het patent op een staande lamp die een automatisch werkende pomp had en bovendien geen schaduw wierp. Dat moest alle nadelen van de Argandlamp tegengaan. In deze lamp zat het (tweede) reservoir onder de brander en werd de olie vanuit het basisreservoir omhoog gestuwd door een perspompje dat werden aangedreven door een uurwerk. Om dat te bedienen had de lamp een opwindsleutel in de voet van de lamp.
Een andere vernieuwing was dat de hoeveelheid olie die naar de pit werd gepompt groter was dan noodzakelijk. Door de overvloedige olie werd de brander gekoeld. Ongebruikte olie vloeide terug naar het reservoir onderin.
De olie in de Carcellamp werd dus helemaal opgebruikt, de lamp kon zestien uur branden zonder bijvulling en gaf genoeg licht voor meerdere personen om bij te werken. Het was echter een complex systeem. Daarom was deze lamp nogal duur en was de kans op haperende onderdelen (en dus een bezoekje aan een reparateur) groot.
In Frankrijk zelf en in sommige andere rijke Europese landen was de lamp redelijk populair, maar verder werd hij maar matig verkocht.



Louis Figuier - Links boven: dwarsdoorsnede Carcellamp, links onder: Guillaume Carcel, rechts: Carcellamp. Uit: Louis Figuier, Les Merveilles de la science, 1867-1869.
Moderateur- of regulatorlamp
Al met al was er dus nog steeds ruimte voor een betere lamp en in 1839 werd binnen dat kader de moderateurlamp uitgevonden door Charles-Louis-Félix Franchot (1809-1881). Deze maakte de Carcellamp definitief tot een luxe product.
In de moderateurlamp werd de olie naar het tweede reservoir bovenin gestuwd door een op een veermechanisme werkende zuiger die op een cilindervormig eerste reservoir was gemonteerd. Doordat de met een schroef opgewonden veer zich langzaam ontspande, kwam de toevoer van olie tot stand.
Bovendien had deze lamp een zogeheten moderateur. Dat is een neerhangende pen die compenseert voor de variërende druk van de veer, waardoor een gelijkmatige hoeveelheid olie naar de pit stroomt. Bovendien laat hij het teveel aan opgevoerde olie teruglopen in het tweede reservoir onder de pit. Ook deze lamp wordt aangedreven door een uurwerk en heeft een opwindsleutel halverwege de lamp.
De moderateurlamp was zuinig met brandstof en relatief veilig, gaf een zacht wit licht en werkte automatisch. Nadeel was wel dat het mechanisme een paar keer per avond handmatig moest worden bediend, omdat de pit anders verbrandde. Deze lampen waren echter goed betaalbaar en werden al snel behoorlijk populair.




Louis Figuier - Links: doorsnede moderateurlamp, midden: moderateurlamp, rechts boven: de pen of moderateur, rechts onder: C. L. F. Franchot. Uit: Louis Figuier, Les Merveilles de la science, 1867-1869.
Hydrostatische lamp
Bij de hydrostatische lamp werd gebruik gemaakt van de wet van de communicerende vaten. Deze wet stelt dat als men in de armen van een U-vormige buis twee vloeistoffen giet met een verschillend soortelijk gewicht, de armen zich vullen tot een hoogte die omgekeerd evenredig is aan het soortelijke gewicht. Olie is licht materiaal en stijgt in zo'n geval wel 14 tot 15 maal zo hoog als een zware vloeistof. Ook dit kon gebruikt worden om de olie via een buizensysteem omhoog te stuwen van het ene naar het andere reservoir.
De zware vloeistof die men daarbij als tegenwicht gebruikte was zinkvitriool, omdat dit de enige zware vloeistof was die het materiaal van de lamp niet aantastte. De olie moest natuurlijk wel bijgevuld worden, maar het vitriool niet.
Bij deze lamp waren brander en trekglas omgeven door een extra mantel en hij had meestal een matglazen kap. De basis van deze lamp ziet er al snel wat pilaarvormig uit.
Het patent voor deze lampen is door verschillende Franse uitvinders bevochten met weinig bevredigend resultaat.




Louis Figuier - V.l.n.r.: De wet van de communicerende vaten, het principe achter een hydrostatische lamp, doorsnede van een hydrostatische lamp, hydrostatische lamp naar ontwerp van de Franse uitvinder A. J. P. Thilorier, die uiteindelijk vooral de geschiedenis in zou gaan als uitvinder van droog ijs. Uit: Louis Figuier, Les Merveilles de la science, 1867-1869.
Argandlampen in vuurtorens en theaters
Twee sectoren zaten in het bijzonder erg verlegen om de nieuwe, veel sterkere lampen en dat waren vuurtorens en theaters. Beiden maakten vooral gebruik van kaarsen, maar dat bleef behelpen. De nieuwe veel sterkere lamp bracht uitkomst, al was het nog steeds niet meer dan een verbetering en verre van ideaal. Erg lang zou het dan ook niet duren. Kalklicht en elektrische booglampen, die beiden veel meer incandescentie hadden, namen het roer halverwege de 19de eeuw alweer over.
In vuurtorens was dit wel in combinatie met reflectoren die het licht versterkten, maar dat geldt voor elke in vuurtorens gebruikte lichtbron.

Argand Lamp en reflector aan een cardanische ophanging, 1884.
Lampolie
Welke lampolie te gebruiken in een Argandse lamp? Dat was een belangrijke kwestie waar Argand zich zelf al mee bezig heeft gehouden. Met de juiste olie zou de lamp namelijk nog een stuk beter kunnen werken en licht geven dan met een minder geschikte soort. Allerlei soorten olie werden door hem en zijn compagnons getest, alsmede methodes om die oliën te zuiveren. Uiteindelijk koos men voor walvisolie als meest geschikt, wat de walvisindustrie nogal een boost gaf. Al werd dat wel een Amerikaanse toestand, omdat de VS een veel grotere walvisvaart hadden dan de Europese landen. In Europa werd koolzaadolie toch het meest verkocht.
Uiteindelijk werden de onderstaande dierlijke en plantaardige oliën veel gebruikt in Argandlampen:
- Walvisolie. De beste walvisolie was gemaakt van de zogenaamde spermaceti (of spermacetie) die in de kop van potvissen zit. Dit is geen sperma maar een doorschijnende waterige stof die bij blootstelling aan de lucht in een melkwitte crème verandert. Potvissen slaan tot wel 3 ton spermaceti op in een holte in hun hoofd. Helaas is niet met zekerheid bekend waarom, al geloven steeds meer wetenschappers dat het de walvis helpt met duiken in de diepte.
- Raapolie of koolzaadolie. Dit was olie afkomstig uit zaden als koolzaad, lijnzaad of raapzaad of uit andere plantaardige producten als huttentut. Vaak werd het ook raapolie of koolzaadolie genoemd als het zaad van een andere plant afkomstig was, want men zag het verschil niet. Aanvankelijk werd de olie uit de zaden geperst, maar later werd deze in speciale molens 'geslagen'.
- Olijfolie. Dat stond bekend als de beste olie omdat het erg zuiver is, maar het was wel duur. In plaatsen waar het werd geproduceerd (bijvoorbeeld in landen rond de Middellandse Zee) was het echter goedkoper te verkrijgen dan elders. Toch werd het zowel daar als in Europa met name gebruikt in heiligdommen.

Delphin Enjolras - Het boeket, datum onbekend maar vermoedelijk voor 1920. De lamp kan zowel een Carcellamp als een hydrostatische lamp zijn.
Patentolie
Helaas was geen van de bovengenoemde soorten lampolie al te geweldig. Dat komt omdat dierlijke en plantaardige oliën zogeheten niet-minerale oliën zijn, wat een dikke, traag stromende vloeistof oplevert. Minerale olie wordt meestal gewonnen uit aardolie, is lichter en vluchtiger en brandt veel beter. Rond 1800 kende men echter nog geen manier om lampolie te maken uit aardolie. Daarom ging men op zoek naar andere manieren.
Binnen dat kader kwam de Fransman Louis-Jacques Thénard (1777-1857) in 1802 tot de zogenaamde patentolie. Dat was extra heet geperste, met behulp van zwavelzuur geraffineerde olie uit koolzaad. Deze olie vertoonde eigenschappen van minerale olie (al was het nog steeds geen aardolie) en gaf geen stank en roet.
Het werd al snel de op afstand meest verkochte lampolie voor olielampen in alle soorten en maten. Concurrentie kreeg dit product eerder van gasverlichting en na 1860 van petroleum dan van andere soorten olie.
Naar nieuwe lampen: gas en petroleum
Omdat ook patentolie nog niet mineraal genoeg was bleef men zoeken naar betere brandstof voor gebruik in lampen. Dat leidde tot twee andere nieuwe soorten van verlichting, namelijk de gaslamp (begin 19de eeuw) en de petroleumlamp (vanaf ongeveer 1860)
Helemaal vreemd aan de Argandlamp waren deze lampen echter niet. Het systeem waarmee zowel gas- als petroleumlampen werkten was een op de brandstof aangepaste versie van Argands uitvinding. Daarmee bleef Aimé Argand de vader van de moderne huislamp.
Pas door de uitvinding van de gloeilamp in 1878 zou er opnieuw een totale revolutie in lichtland plaatsvinden. Het zou echter nog tot na de Tweede Wereldoorlog duren voordat gloeilicht zo dominant werd als verlichting in huis dat de Argand olielamp en al zijn afgeleiden definitief tot antiek verwerden.

Petrus van Schendel - De liefdesbrief, 1870. Eenvoudige petroleumlamp met brander, trekglas en kap los zichtbaar. De overeenkomsten met andere olielampen is goed zichtbaar.
Argandlampen rond 1900
Hoewel de olielamp veel marktaandeel had verloren, verdween hij na 1870 nog lang niet uit het zicht. Dat had alles te maken met de prijs en beschikbaar van de verschillende brandstoffen, zoals dat feitelijk al door de hele geschiedenis heen de keuze voor bepaalde soorten verlichting bepaalde.
Petroleum en gas waren duurder dan patentolie, waarbij petroleum bovendien duurder was in het gebruik, want minder zuinig. Elektriciteit was ondertussen nog maar heel beperkt beschikbaar en de gloeilamp werd pas een serieuze lamp na de ontdekking van wolfraam als gloeidraad in 1910.
Afgezien daarvan was de distributie van petroleum naar afgelegen gebieden op het platteland vaak problematisch, terwijl een gasnet daar helemaal uitgesloten was. Dat betekende dat zowel een grote groep minder bedeelde inwoners van stadse gebieden als veel plattelandsbewoners het nog tot ver in de 20ste eeuw zouden stellen met olielampen.
De teruglopende interesse voor de olielamp betekende echter wel dat de minst populaire lampen van de markt werden gedrukt en dat er na de komst van de petroleumlamp in 1860 geen nieuwe typen Argand olielampen meer werden ontworpen.
De Argandlampen die na 1870 werden gebruikt waren meestal de recentere tafelmodellen met een dubbel reservoir, waarbij de moderateurlamp zich in de grootste populariteit mocht verheugen.

Delphin Enjolras - Het ruisen van de zee, datum onbekend maar vermoedelijk tussen 1920 en 1945. De Franse schilder Delphin Enjolras (1857-1945) had behalve een fascinatie voor sensuele vrouwen een fascinatie voor lampen en andere lichtbronnen. Op een grote meerderheid van zijn schilderijen is een brandende lamp of andere expliciete lichtbron aanwezig. Op bovenstaande lamp zijn de knoeisporen van jarenlang oliegebruik zichtbaar.
Bronnen
- M. Stokroos - 'Verwarmen en verlichten in de negentiende eeuw.' Zutphen 2001
- E. Berkers - 'Gas, licht en elektriciteit' in: H.W. Lintsen (red.) – 'Geschiedenis van de techniek in Nederland. De wording van een moderne samenleving 1800-1899. Deel III. Textiel. Gas, licht, elektriciteit. Bouw. Zutphen 1993, Walburg Pers.', Hoofdstuk 6, pagina 89 t/m105.
- M. Plettenburg - 'Licht in huis: kienspaan-kaars-olielamp.' Arnhem 1968
- B. Bryson – Een huis vol. Een kleine geschiedenis van het dagelijks leven. Amsterdam 2010, 2011. Olympus. Hoofdstuk 6, pagina 119 t/m 142
- Wikipedia Nederland (nl.wikipedia.org) – 'Joseph Priestley'/ 'Antoine Laurent Lavoiser'/ 'Aimé Argand' / 'Patentolie'/ 'Minerale olie' (5-3- 2021)
- Wikipedia Engeland (en.wikipedia.org) – 'Ami Argand' / 'Antoine Quinquet' / 'Argand lamp' / 'Lampshade' / 'Carcel lamp' / 'Moderator lamp' / 'Adrien-Jean-Pierre Thilorier' (5-3-2021)
- https://www.encyclo.nl/begrip/pomplampen (5-3-2021)
- https://www.britannica.com/technology/Argand-burner (5-3-2021)
Afbeeldingen
- Astrale lampen: Wikimedia Commons, afbeelding afgestaan door het Metroplitan Museum of Art
- Overige: Wikimedia Commons: www.commons.wikimedia.org
Dit artikel is gepubliceerd op 11 maart 2021.